Defender 110 r.v.96 beh motoru

D, TD, TDI, TD5
Odpovědět
Zpráva
Autor
Bartman
Příspěvky: 4
Registrován: 12 úno 2014 07:15

Defender 110 r.v.96 beh motoru

#1 Příspěvek od Bartman » 12 úno 2014 07:20

Zdravím. Potreboval bych radu ohledne tohoto defika. Vse maka jak ma jen při chcipani motoru je mensi problém. Když otocim klickem do polohy off kontrolky a vse na pristrojovce shasne jak ma. Bohužel motor ne. Objevil jsem u palivového cerpadla (nejspíše) drat na kterem je 12v i po vypnuti klicku. po odpojeni dratu od cerpadla motor shasne. Nevite někdo kde je nejake rele nebo zarizeni které drzi tech 12V i po vypnuti???. Moc dekuji předem za rady. Bart.

Uživatelský avatar
Aleš Kaiser
Příspěvky: 8
Registrován: 11 úno 2014 13:09
tel.: 777612763
auto: LandRover Freelander
Bydliště: Autoservis Garant s.r.o., Na Jarově 2, Praha 3
Kontaktovat uživatele:

Re: Defender 110 r.v.96 beh motoru

#2 Příspěvek od Aleš Kaiser » 12 úno 2014 10:02

Čerpadlo je řízeno elektronicky a odstavovací ventil spíná rele řízení motoru. Je nutné najít rele a zjistit, zda po vyndání motor zhasne a podle toho postupovat dále. Rele může být slepené. Řídící jednotka ho ukostřuje. Může být i někde prodřený kabel na kostru a bude držet rele v sepnutém stavu.
Autoservis Land Rover, diagnostika - Autoservis Garant Praha 3 tel: 777612763 http://www.autoservis-garant.cz/autoser ... rover.html

Bartman
Příspěvky: 4
Registrován: 12 úno 2014 07:15

Re: Defender 110 r.v.96 beh motoru

#3 Příspěvek od Bartman » 12 úno 2014 10:41

Parada moc dekuji za radu. Nahodou kde se to rele nachazi uz nevite???

Uživatelský avatar
Rover
Příspěvky: 5257
Registrován: 10 říj 2006 15:56
tel.: 736173373
Bydliště: Podkrkonoší...

Re: Defender 110 r.v.96 beh motoru

#4 Příspěvek od Rover » 12 úno 2014 11:55

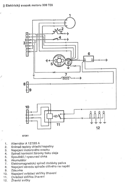
No ono ale u 300Tdi asi moc řídící jednotka nebude ne? Pokud tam máš imobilizér tak je v linii klíček-relé-vstřik čerpadlo zapojený ještě ten. Pokud ne tak je to prostě jen drát, kde je buď 12V nebo 0V...
Přílohy
svazek.jpg
svazek.jpg (77.07 KiB) Zobrazeno 3196 x
Country boy...

Bartman
Příspěvky: 4
Registrován: 12 úno 2014 07:15

Re: Defender 110 r.v.96 beh motoru

#5 Příspěvek od Bartman » 12 úno 2014 11:58

Pravda jednotka pod stredovym kastlikem není takze pujdu po dratu. Ještě jednou diky za rady.

Bartman
Příspěvky: 4
Registrován: 12 úno 2014 07:15

Re: Defender 110 r.v.96 beh motoru

#6 Příspěvek od Bartman » 13 úno 2014 15:21

Tak drat jsem bohužel nevyslídil. nekde mizi ve svazku a rezat cely svazek mi prislo trochu moc. Tak jsem od klicku natahl novy drat který spina podavci cerpadlo a vse funguje jak ma. Snad se nic nestane když jsem to takto nahradil. ?

Uživatelský avatar
Rover
Příspěvky: 5257
Registrován: 10 říj 2006 15:56
tel.: 736173373
Bydliště: Podkrkonoší...

Re: Defender 110 r.v.96 beh motoru

#7 Příspěvek od Rover » 13 úno 2014 15:35

Myslím, že to mám taky tak... :)
Country boy...

Odpovědět